Nikola Tesla Colorado Springs Notes 1899 1900.pdf


Vista previa del archivo PDF nikola-tesla-colorado-springs-notes-1899-1900.pdf


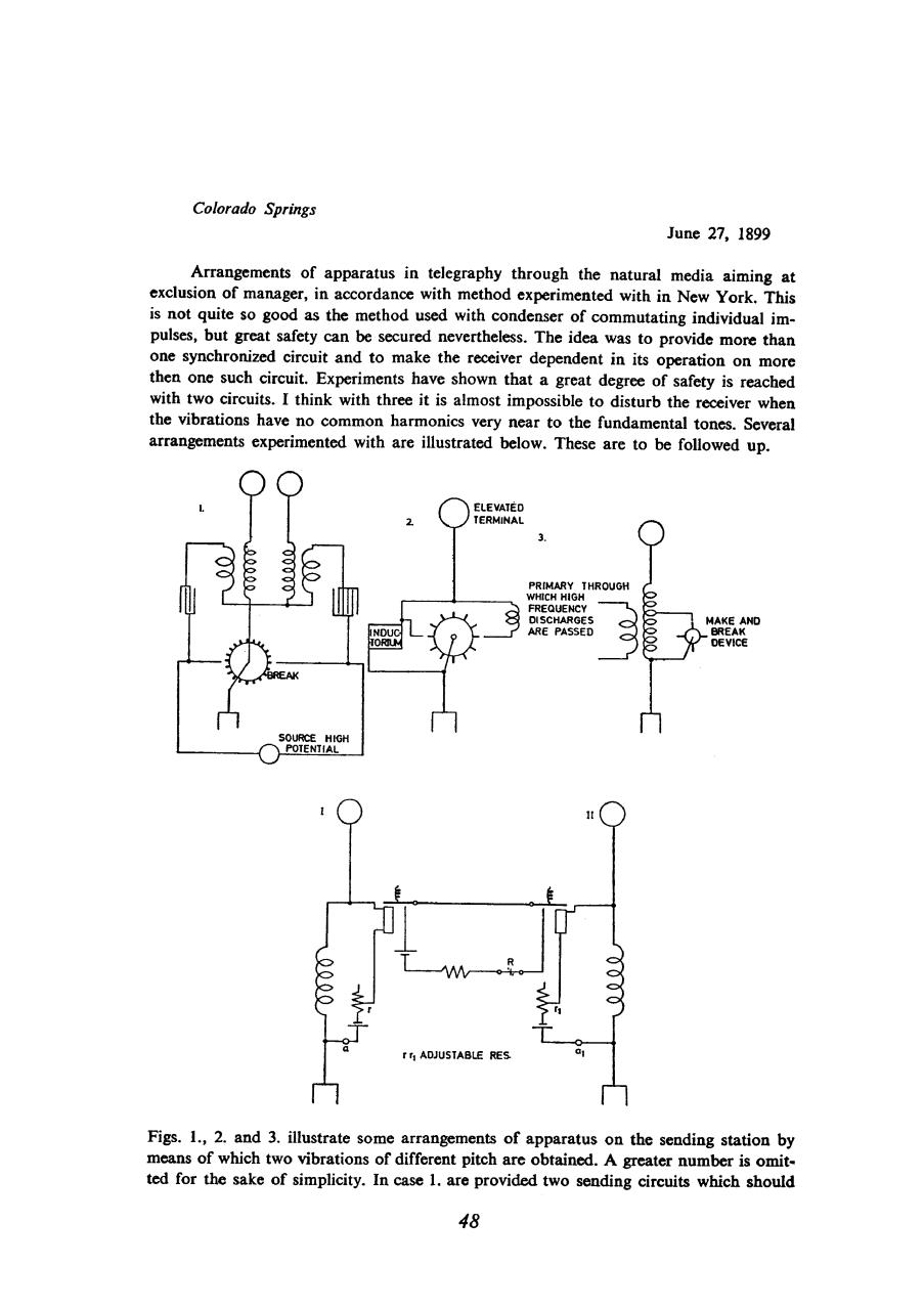
Página 1...41 42 434445431